おかげさまで開設25周年NURSINGMUMNCARE.COM 創業祭

NURSINGMUMNCARE.COM

詳しくはこちら
マイストア マイストア 変更
  • 即日配送
  • 広告
  • 取置可能
  • 店頭受取

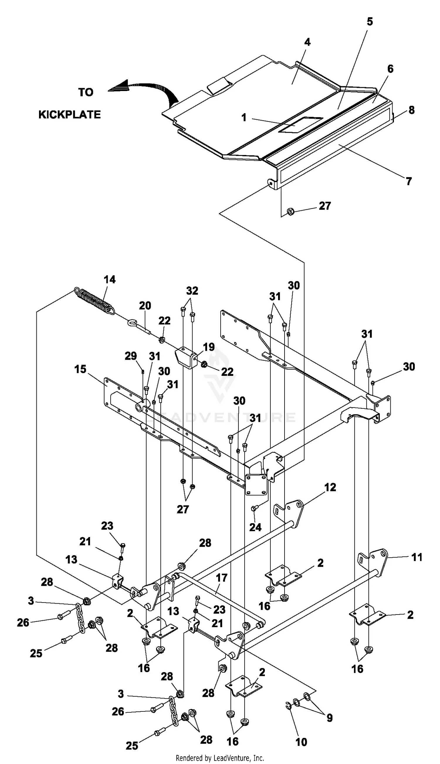
HOT ! 葉 ページ Woods MZ2652G Mow`n Machine Parts Diagrams

※NURSINGMUMNCARE.COM 限定モデル
YouTuberの皆様に商品の使い心地などをご紹介いただいております!
紹介動画はこちら

ネット販売
価格(税込)

10846

  • コメリカード番号登録、コメリカードでお支払いで
    コメリポイント : 4ポイント獲得

コメリポイントについて

購入個数を減らす
購入個数を増やす

お店で受け取る お店で受け取る
(送料無料)

受け取り店舗:

お店を選ぶ

近くの店舗を確認する

納期目安:

13時までに注文→17時までにご用意

17時までに注文→翌朝までにご用意

受け取り方法・送料について

カートに入れる

配送する 配送する

納期目安:

2025.12.18 3:39頃のお届け予定です。

決済方法が、クレジット、代金引換の場合に限ります。その他の決済方法の場合はこちらをご確認ください。

※土・日・祝日の注文の場合や在庫状況によって、商品のお届けにお時間をいただく場合がございます。

即日出荷条件について

受け取り方法・送料について

カートに入れる

欲しいものリストに追加

欲しいものリストに追加されました

葉 ページ Woods MZ2652G Mow`n Machine Parts Diagramsの詳細情報

Woods MZ2652G Mow`n Machine Parts Diagrams。Amazon | 壁紙屋本舗 壁紙 のりなし ボタニカル 植物 日本製 クロス 約。used】Atelier Z / M#265/70`Custom N BLK LINE 2024 4.900kg #041546。①作品/キャラ名 ブルーアーカイブ 竜華キサキ②納期 8月中③ご予算 なし④こだわって欲しい箇所 小顔になるように 横髪は内巻きになるようにお願いしたいです⑤指定のウィッグメーカーや色(お任せOK)お任せ⑥発送方法 マネキン発送⟡.·*.··············································⟡.·*.ウィッグ代金 10560円アシストツインテールベース毛束 × 5制作費用 15000円送料2000円メルカリ手数料 1700円合計 29260円ー注意事項ー・注文番号をお渡し後ご入金は1週間以内をお願いしておりますが遅れてしまう場合はお伝え頂けましたらご対応可能です。ロジカル・はれるんワイドリーフB5ワイド26穴・50枚/A罫。また納期次第では早急の振込でないと間に合わなくなる可能性がございますので心配な方は予めご相談くださいませ。。・どうしてもウィッグ代金先払いが難しい場合もお申し付け頂けますと幸いでございます。原神 カーヴェ 猫屋小舗製 コスプレ衣装 新品 未使用品 即発送可能⭕️即購入⭕️。・受け取り後はトラブル防止の為2日以内に受け取り評価をお願いしております、こちらもご都合が悪い場合予めご報告頂けますと幸いでございます。仮装 コスプレ クルエラ 全身セット。・ご入金後のキャンセルはお断りしております。おもちもち 艦これ 加賀衣装(改二)コスプレ衣装。・マネキン発送をご希望の方はご購入前にお申し付けください。ホロライブ 星街すいせい コスプレ。・急な納期の変更には対応いたしかねる場合がございます。シェリル 私服 有栖 確認ページ。・あくまでプロではなく素人が作成したものです。OZZoneste チャイナ風ワンピース 夢幻幽宴ワンピース 白 ホワイト。ウィッグ完成後確認ページにてウィッグのお写真をお見せしますのでご確認をお願いします。【値下げ8/7まで】ラブライブ 西木野真姫 キラセン 衣装 コスプレ。商品到着後の返金交換はお受けできません。戦国無双3 ガラシャ コスプレ 衣装 ウィッグ フルセット。修正は可能な限りお答え致しますので気兼ねなくご相談くださいませ。三分妄想 ゼンレスゾーンゼロ 浅羽悠真 コスプレ衣装 S ゼンゼロ。
  • Woods MZ2652G Mow`n Machine Parts Diagrams
  • Amazon | 壁紙屋本舗 壁紙 のりなし ボタニカル 植物 日本製 クロス 約
  • used】Atelier Z / M#265/70`Custom N BLK LINE 2024 4.900kg #041546
  • ロジカル・はれるんワイドリーフB5ワイド26穴・50枚/A罫

同じカテゴリの 商品を探す

ベストセラーランキングです

このカテゴリをもっと見る

この商品を見た人はこんな商品も見ています

近くの売り場の商品

このカテゴリをもっと見る

カスタマーレビュー

オススメ度  4.4点

現在、5684件のレビューが投稿されています。